您当前的位置 : 西青信息港 >> 新闻 >> 公告
西青区关于疫情防控的倡议书
来源:西青信息港 编辑:扈树珍 日期:2021-08-01
内容提要:近日,江苏南京发生聚集性疫情并波及多个省市地区,是自武汉疫情以来外溢程度最严重的一次本土疫情传播。本次传播系由新冠变异病毒德尔塔毒株引起,该毒株具有传播速度快、传播能力强、病毒载量高等特点。目前,区疫情防控指挥部已启动系列强化防控措施,为了您和家人的身体健康和生命安全,请大家继续严格遵守疫情防控各项规定:

  全区广大居民群众:

  近日,江苏南京发生聚集性疫情并波及多个省市地区,是自武汉疫情以来外溢程度最严重的一次本土疫情传播。本次传播系由新冠变异病毒德尔塔毒株引起,该毒株具有传播速度快、传播能力强、病毒载量高等特点。目前,区疫情防控指挥部已启动系列强化防控措施,为了您和家人的身体健康和生命安全,请大家继续严格遵守疫情防控各项规定:

  1.主动配合排查检查。需要排查的地点包括江苏南京、扬州;湖南张家界、常德、凤凰县;河南郑州。具有南京市本土聚集性疫情波及省市重点地区旅居史,特别是中高风险地区及南京禄口国际机场、湖南省天门山森林公园、高桥大峡谷、凤凰古城、魅力湘西剧场旅居史人员要主动与所在街镇指挥部联系,向工作单位和所居住社区报备,并积极配合核酸检测、隔离管控等措施。

  2.避免前往有关地区。避免前往近期发生疫情地区旅行及出差,一旦前往,返回后须主动向社区或工作单位报备,积极配合做好相关防控工作,并做好自我健康监测。自己及家人一旦出现发热、咳嗽、咽痛、腹泻、乏力、全身酸痛、味觉异常等症状,要及时前往正规医疗机构的发热门诊就医,就医途中要全程佩戴好口罩,并避免乘坐公共交通工具。

  3.尽量减少假期出游。建议暑期出游以市内中短途为宜,以室外活动为主,在人员较少的空旷地带、郊野公园等处游玩,以家庭游为主,不建议较多人群聚会,不要前往疫情仍严重的境外国家或国内有聚集性疫情地区。

  4.积极接种新冠疫苗。疫苗的主要作用是防感染、防发病、防重症和死亡,针对新冠病毒及其变异株,国产疫苗仍然具有保护性。西青区正在开展适龄人群的疫苗免费接种工作,广大群众要积极主动接种疫苗,并主动配合在重点时段、重点场所、重点活动的疫苗接种证明查验工作。同时提醒大家,应避免因出行等原因影响第2剂疫苗接种。 

  5.全面加强自我防护。要全面提高自我防护意识和能力,坚持规范佩戴口罩、勤洗手、常通风、少聚集、保持安全社交距离等良好的卫生习惯以及绿色文明的健康生活方式。完成疫苗接种后也不可放松警惕,仍要坚持做到佩戴口罩、注意手部卫生等良好卫生行为,杜绝感染风险和隐患。

  疫情没有结束,防疫仍在路上。请全区广大居民群众以防疫大局为重,团结一心、众志成城,巩固好来之不易的防控成果,共同守护西青健康,守护好我们的亲人和家园。

  最后,祝愿大家身体健康、工作顺利、阖家幸福。

  西青区疫情防控指挥部

  2021年7月31日

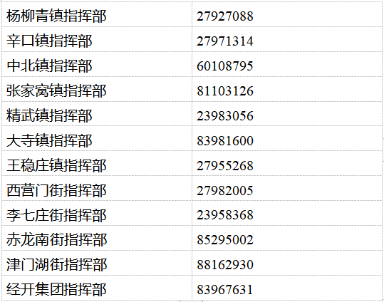
  附各街镇指挥部联系方式

图片
原标题:
相关新闻